佛山市益百机械

材料切割与熔合设备专家

0757-85611216

千亿球友会 - 新闻资讯 - 公司新闻

超声波花边机花轮压力调整

超声波花边机花轮压力调整2021-07-14

超声波花边机花轮压力调整: ㈠ 调整花轮压力之程序,视工作物之素材及厚薄度而定。 ㈡ 通常较厚人织成份低之材料,须较大之压力。 ㈢ 调整(下压)调压阀可改变花...

查看更多
超声波花边机发振箱的安装

超声波花边机发振箱的安装2021-07-14

超声波花边机发振箱的安装: ⑴ 将发振箱上电源电线接到220V 1P之电源,电源插座一定要有地线脚。 ⑵ 机台之输出电线,插入发振箱之输出插座并锁紧。 ⑶ 机...

查看更多
超声波打枣机振子焊头组图示

超声波打枣机振子焊头组图示2021-07-13

超声波打枣机振子焊头组图示: 1.超声波振子:将电能转换为机械能。 2. 振子固定法兰:安装固定振子,有绝  &...

查看更多
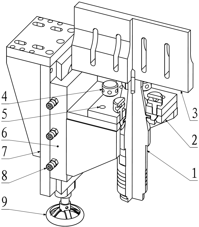
超声波缝合机花轮装拆与调整

超声波缝合机花轮装拆与调整2021-07-13

超声波缝合机花轮装拆与调整: 1.花轮装拆:先向上拿起花轮盖板4,松开螺丝向左拆走花轮固定板3,就能把花轮1向左拉出,至于花轮轴6不需要拆下。 2.花轮的水平微调:先松开...

查看更多
超声波3D花边机带动轮的调校

超声波3D花边机带动轮的调校2021-06-30

超声波3D花边机带动轮的调校: 1.带动轮2安装在杠杆座1。 2.调较压缩弹簧4力度,可以调节带动轮2对布料压紧力度。 3.锁板3与...

查看更多
超声波3D花边机的优势

超声波3D花边机的优势2021-06-30

超声波3D花边机的优势: (1)使用滚刀轮加工时: 使用超声波及滚切刀对一层或两层材料进行切割并同时对切口进行焊合。 ①可无限长滚切焊合材料。 ②...

查看更多

阿里巴巴二维码

销售热线:


黄生

181-2563-2818

联系我们:


地址:广东省佛山市南海区里水镇河村石荣工业区甘河路22号澳施莉二楼(益百机械) 电话:0757-85611216 邮箱:hshengwei@qq.com 友情链接:泰晶

Copyrigh © 2020 首页 版权所有 粤ICP备2020090658号 丨 技术支持:佛山网站建设